聚慕 - 专业医疗器械服务商
设为首页 收藏本页 人事招聘 关于聚慕
400-090-0956
全部商品分类
网站首页 > 产品中心 > 病房护理 > 护理床 > HFA728型灸疗床
HFA728型灸疗床
HFA728型灸疗床
聚慕货号 : JM1937-002115
商品类别 : 护理床 / 病房护理
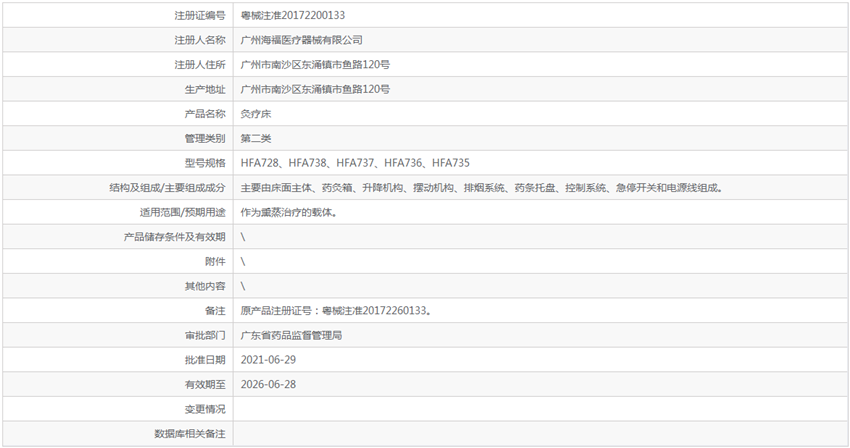
批准文号 : 粤械注准20172200133
类 别 : 二类医疗器械
中国 国产
电议
现货、预定
上海自提或三方快递
签约购买
[设备]1年质保 [耗材]见包装
售后服务: 400-090-0956

产品:

单位名称:

联系人:

联系电话:

咨询内容:

提交

产品描述

注册信息

产品优势

  • 智能控温

    智能点火、智能控温、智能循温、智能排烟、免维护风机,双重紧急制动,防护栏设计,保护使用者

  • 稳定性强

    拼接硅胶床面:舒适环保耐高温、双侧翻转、可拆卸两套循温系统,温度均匀覆盖每个穴位数码第4代控制系统,稳定性强

产品参数

  • 额定功率650W

  • 相对湿度30%-75%

  • 定时时间60±1min

  • 连续工作时间≤8 h

  • 输入额定电压AC220V±10%

  • 输出额定电压DC24V±10%

  • 绝缘电阻0.5kv >200MΩ

  • 耐压强度1.5kv <0.99mA

  • 工作条件环境温度 0℃~40℃


产品详情请联系上海聚慕,来电咨询:1-8-9-0-1-9-1-2-7-5-5 (罗)

1.PNG

上海聚慕医疗器械有限公司,深耕行业十余载,拥有国家级医疗器械经销资质,服务网络覆盖全国。依托现代化实体厂库,实现多品类器械高效集储、精准配送,为医疗机构与合作伙伴提供从供应链管理到售后支持的一站式解决方案。我们以专业为基、以诚信为本,持续赋能中国医疗健康产业。 欢迎语

尊敬的客户您好:上海聚慕医疗做为中国国产的厂家合作伙伴,可靠的提供HFA728型灸疗床技术选型,您可以了解HFA728型灸疗床的详细介绍,配置,如需了解HFA728型灸疗床招标授权及产品详细技术参数,彩页及使用方法,可通过致电聚慕医疗全国热线电话400-090-0956向我们的产品经理咨询。

聚慕医疗拥有专业的售后团队,提供中国国产产品延保及上门培训,维修,在您拥有HFA728型灸疗床的优质性能同时,也能享受专业无忧的售后服务。

友情提示

聚慕医疗承诺无论您在上海、北京、广州、深圳、厦门、武汉、重庆、杭州、苏州、江苏、广东、浙江、山东、湖北、四川、安徽、新疆、西藏还是大连、沈阳、长春、哈尔滨、青岛、西安、郑州、合肥、兰州、太原、长沙、株洲、福州、无锡、昆山、扬州、常州、宁波、贵州、呼和浩特、鄂尔多斯、吉林、云南、大庆、鞍山、合肥、宿州、拉萨、等地,均可提供HFA728型灸疗床的物流代收货款及快递派送上门送件 。更多需求请您致电全国免费咨询热线:400-090-0956

 本公司全力支持关于《中华人民共和国广告法》实施的“极限 化违禁词”相关规定,且已竭力规避使用相关“违禁词”等极限化词汇。如果还有“极限化”违禁词用在本公司网页,本公司申明全部失效。所有访问本公司网页的人员均表示默认此条约,不支持任何发来“违禁词”为借口或理由投诉我公司 违反《中华人民共和国广告法》或《新广告法》来变相勒索索要 赔偿的违法恶意行为!如有疑问请及时联系本公司进行更改,感谢你的配合和支持,谢谢!

售后服务

1、产品质量问题,在产品售出7天内因产品有明显瑕疵的且产品未有损坏的,聚慕医疗负责免费换货;

2、产品标配售后服务质保期:1年质保,如需延保服务请致电400-090-0956;

3、质保期内如有产品质量问题,免费维修或更换,质保期外长期提供技术支持,如需上门或更换配件,酌情收取基本配件费及差旅费;4、所有产品售后问题,请直接联系我司全国免费咨询热线:400-090-0956,我司售后服务团队会在1~3个工作日内响应处理。

为您找货 · 告诉我们您想要找什么商品?我们将尽快给您答复。
* 商品名称:
* 您想了解:
  • 商品资料
  • 货期
  • 价格
  • 安调
  • 其他
* 手机号码:
* 姓名: