产品描述
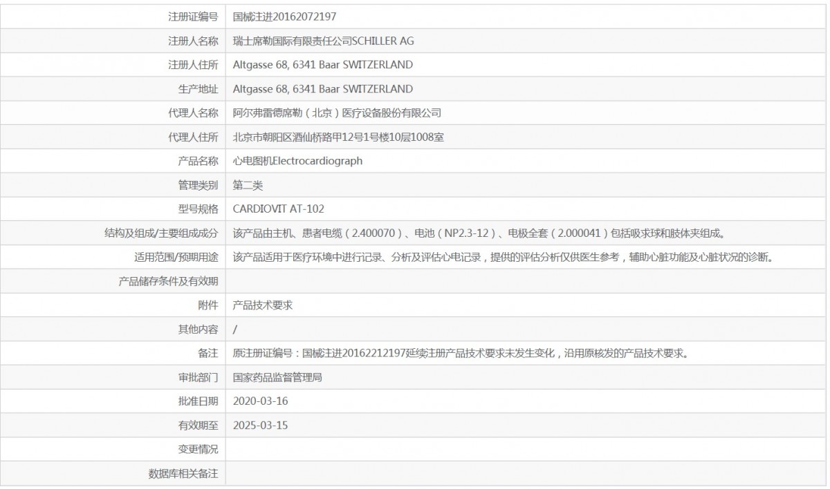
注册信息
***台设备支持心电图机与肺活量测试仪两种功能
ㆍ12导联ECG,肺功能检测
ㆍ7英寸Wide TFT color LCD (800X480)
ㆍ提供提供基本诊断和专业诊断***别
ㆍFVC(Forced Bital Capacity)、SVC(Slow Vital Capacity)、
MVV(Maximum voluntary ventilation) test
ㆍ支持打印预览(Preview)
ㆍZ-fold式打印机
ㆍ支持触屏操作与Key按键两种输入方式
ㆍ可通过BMS-Plus程序关联图表与PACS(选配)
*产品优点
12导联ECG诊断
7英寸Wide TFT 彩色 LCD (800X480)
Full Touch screen全触摸功能
打印前可预览(Preview)确认
提供提供基本诊断和专业诊断***别(提供成人与幼儿诊断)
***长支持10分钟ECG数据记录,自动记录心率不齐症状
支持USB内存条与条形码扫描
HRV分析诊断
配备便于管理与保存图表的Z-fold式打印机
可通过BMS-Plus程序关联EMR图表与Direct PACS
可升***为肺功能检测仪(选配)
QRS sound功能
*拓展功能
支持内存(80events)与外接内存(SD Card、USB)
*卓越的检测性能
12导联ECG同时输出,130种自动诊断功能
可通过Advanced Minnesota Code进行精密诊断
通过特殊诊断报告进行专***诊断
Lead Fault和pacemaker识别功能
*便捷的数据管理功能
内置内存条可保存80条病例数据,支持外置内存(SD or USB)升***
EMR(电子病历)系统支持MFER、XML、JPG和PDF格式
* 可供设备运行2小时的锂离子电池(支持约200ECG打印)
[SPITOMETER]
产品详情请联系上海聚慕,来电咨询:1-8-9-0-1-9-1-2-7-5-5 (罗)

产品详情请联系上海聚慕,来电咨询:1-8-9-0-1-9-1-2-7-5-5 (罗)
最新资讯
- 穿戴式心电传感器:贴身守护心脏健康
- a20 心电监护仪:多参数集中显示,普通病房安全监护经济实用
- 心电图机使用的注意事项
- ise-1810心电图机的作用
- bmai019-2 立式心电图机:12导联自动分析,门诊心悸胸闷初筛利器
- imac 1800 心电图机:18导联同步采集,全面筛查心肌缺血与心律失常
- 十八通道心电图机 fx-8700:比12导更全面,捕捉后壁、右室心肌缺血信号
- benevision n15 有创心电监护:icu实时监测动脉压、中心静脉压等关键参数
- se-1201pro 心电机:12导联自动分析,快速筛查心悸胸闷病因
- maecg-200 动态心电记录分析系统:72小时连续监测,捕捉隐匿性心律失常



全部商品分类













聚慕货号 :
JM1136-002494
商品类别 :
批准文号 :
类 别 :




















