产品描述
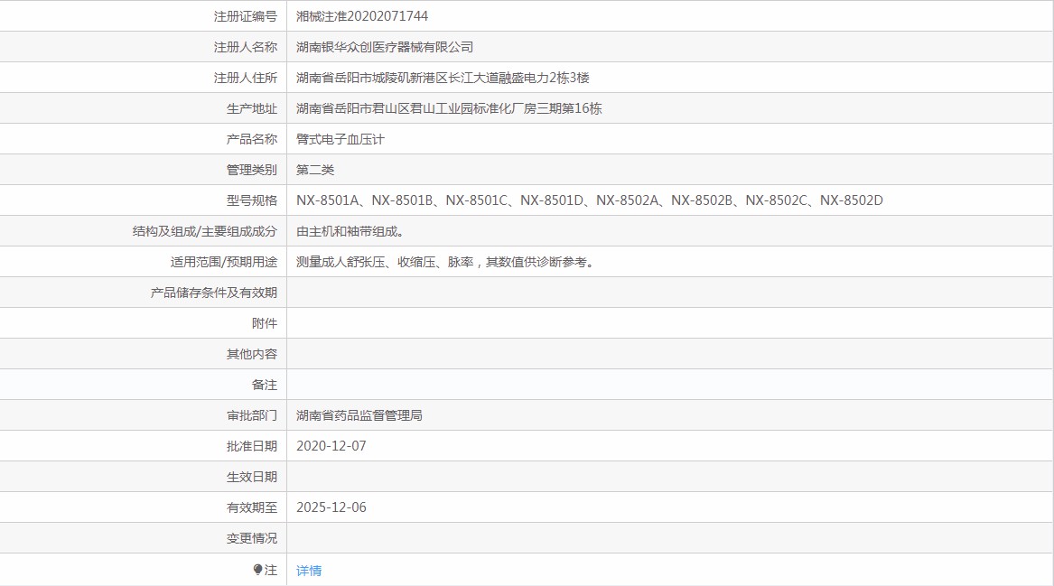
注册信息
BP800W电子血压计
上海聚慕医疗器械公司提供医疗器械采购,维修保养,安装培训,出租租赁等,来电咨:18901912755

上海聚慕医疗器械公司提供医疗器械采购,维修保养,安装培训,出租租赁等,来电咨:18901912755
全部商品分类

急救箱患者输液输血升温仪呼吸机血氧饱和度测定仪除颤监护仪心肺复苏机镇痛泵洗胃机雾化器急救头颈,脊椎,身体固定板神经丛刺激器排痰机急救转运担架注射器呼末二氧化碳仪监测仪制氧机急救转运呼吸机注射泵,输液泵呼吸面罩止血器,止血带新生儿专用呼吸机婴儿蓝光培养箱负压吸引器麻醉机公共场所AED除颤仪

生物共振仪,过敏原治疗仪动脉硬化检测仪血流分析仪血糖仪免疫分析系统生化分析仪混匀仪病毒载量检测系统细胞培养分析仪实验室仪器精子分析仪液基薄层细胞(TCT)检测系统低温冰箱尿液分析仪血液血球分析仪血红蛋白分析仪电解质分析仪微量元素检测仪血乳酸分析仪离心机二氧化碳培养箱酶标仪,洗板机移液器生物安全柜血气分析仪新生儿黄疸检测仪,黄疸治疗仪

臭氧治疗仪脑电图机超声脑血管治疗仪空气波治疗仪低温保存箱超短波治疗仪分娩治疗仪皮肤治疗仪肛肠检查及治疗仪电刺激治疗仪多功能牵引治疗床微波治疗仪康复功能训练设备电磁治疗仪红外,光波治疗仪低,中频治疗仪低脉冲超声治疗仪术后盆底康复治疗仪

毫米波治疗仪体温计中耳分析仪排痰机动态心电检测仪临时体外心脏起搏器胎心仪眼震电图仪经颅多普勒分析仪身高体重分析仪检查头灯糖尿病筛查仪便携及壁挂式全科诊断系统睡眠呼吸监测仪耳温枪动态血压监测仪家用及医用全自动电子血压计超声及X射线骨密度仪血流量、容量测定装置肺功能仪人体成分分析仪体外冲击波碎石仪听诊器视力筛查仪听力计病人监护仪,母婴监护仪,生命体征监测仪心电图机听力筛查仪

诱发电位仪验光台内窥镜手术辅助仪器检影镜视野计角膜测厚仪眼底镜综合验光台耳鼻喉辅助仪器眼科设备配件光学相干断层扫描仪成像仪曲率仪眼科分光器对比敏感度仪色觉检查仪散射光计量仪生物测量仪投影仪膀胱镜可视喉镜光纤喉镜内窥镜医用手术显微镜眼科激光眼科专用AB超角膜地形图仪视力表灯箱眼底照相机纤维支气管镜接触及非接触式眼压计裂隙灯全自动验光仪检耳镜显微镜检眼镜焦度计磨边机医用胃肠镜

高压注射器中心静脉导管医用X光机医用胶片便携式彩色超声诊断仪台式彩色超声诊断仪银质针导热巡检仪防护服,防护屏风PTC穿刺针神经麻醉穿刺针组织活检针导管引流穿刺针半自动、全自动活检枪骨髓活检穿刺针乳腺定位针

光固化机牙科手术器械超声波清洗机口腔灯牙科综合治疗机口腔耗材脱毛美容仪体脂美容仪牙科注射器具牙科专用暗箱涡轮机牙科多功能移动小推车综合动力系统牙齿矫正工具及材料打磨机牙钻机口腔模型口腔抽吸机口腔麻醉仪口腔综合治疗台医用牙科手机及配套设备医用洁牙机根管长度测量仪口腔种植机牙周根管治疗仪牙科治疗椅热牙胶充填机

医用电极灭菌指示剂医用消毒液,多酶清洗液医用缝合线弹力绷带皮肤护理套件快速高温,环氧乙烷,低温生物阅读器透气胶贴,吻合贴,伤口敷贴灭菌测试包,挑战包灭菌爬行卡灭菌胶带透明及伤口敷料抗菌手术薄膜医用换药包敷料、护创材料

卡氏灭菌器ATP荧光检测仪空气消毒机紫外线杀菌器除湿机高温高压灭菌器封口机生物阅读器环氧乙烷灭菌器超声波清洗消毒器清洗设备及耗材低温等离子灭菌器

医学虚拟技能训练模型病理切片机病理摊片机病理包埋机病理脱水机医用病理细胞制片机诊断训练模型护理训练模型急救专业训练模型妇产科训练模型人体解剖模型




产品描述
注册信息
BP800W电子血压计
上海聚慕医疗器械公司提供医疗器械采购,维修保养,安装培训,出租租赁等,来电咨:18901912755

上海聚慕医疗器械公司提供医疗器械采购,维修保养,安装培训,出租租赁等,来电咨:18901912755
尊敬的客户您好:上海聚慕医疗做为中国其他2的厂家合作伙伴,可靠的提供臂式电子血压计nx-8501c技术选型,您可以了解臂式电子血压计nx-8501c的详细介绍,配置,如需了解臂式电子血压计nx-8501c招标授权及产品详细技术参数,彩页及使用方法,可通过致电聚慕医疗全国热线电话400-090-0956向我们的产品经理咨询。
聚慕医疗拥有专业的售后团队,提供中国其他2产品延保及上门培训,维修,在您拥有臂式电子血压计nx-8501c的优质性能同时,也能享受专业无忧的售后服务。
友情提示聚慕医疗承诺无论您在上海、北京、广州、深圳、厦门、武汉、重庆、杭州、苏州、江苏、广东、浙江、山东、湖北、四川、安徽、新疆、西藏还是大连、沈阳、长春、哈尔滨、青岛、西安、郑州、合肥、兰州、太原、长沙、株洲、福州、无锡、昆山、扬州、常州、宁波、贵州、呼和浩特、鄂尔多斯、吉林、云南、大庆、鞍山、合肥、宿州、拉萨、等地,均可提供臂式电子血压计nx-8501c的物流代收货款及快递派送上门送件 。更多需求请您致电全国免费咨询热线:400-090-0956
本公司全力支持关于《中华人民共和国广告法》实施的“极限 化违禁词”相关规定,且已竭力规避使用相关“违禁词”等极限化词汇。如果还有“极限化”违禁词用在本公司网页,本公司申明全部失效。所有访问本公司网页的人员均表示默认此条约,不支持任何发来“违禁词”为借口或理由投诉我公司 违反《中华人民共和国广告法》或《新广告法》来变相勒索索要 赔偿的违法恶意行为!如有疑问请及时联系本公司进行更改,感谢你的配合和支持,谢谢!
售后服务1、产品质量问题,在产品售出7天内因产品有明显瑕疵的且产品未有损坏的,聚慕医疗负责免费换货;
2、产品标配售后服务质保期:1年质保,如需延保服务请致电400-090-0956;
3、质保期内如有产品质量问题,免费维修或更换,质保期外长期提供技术支持,如需上门或更换配件,酌情收取基本配件费及差旅费;4、所有产品售后问题,请直接联系我司全国免费咨询热线:400-090-0956,我司售后服务团队会在1~3个工作日内响应处理。