聚慕 - 专业医疗器械服务商
设为首页 收藏本页 人事招聘 关于聚慕
400-090-0956
全部商品分类
网站首页 > 产品中心 > 体检诊查 > 病人监护仪,母婴监护仪,生命体征监测仪 > 美敦力临时心脏起搏器Pace T20
美敦力临时心脏起搏器Pace T20
美敦力临时心脏起搏器Pace T20
聚慕货号 : JM1137-028723
商品类别 : 病人监护仪,母婴监护仪,生命体征监测仪 / 体检诊查
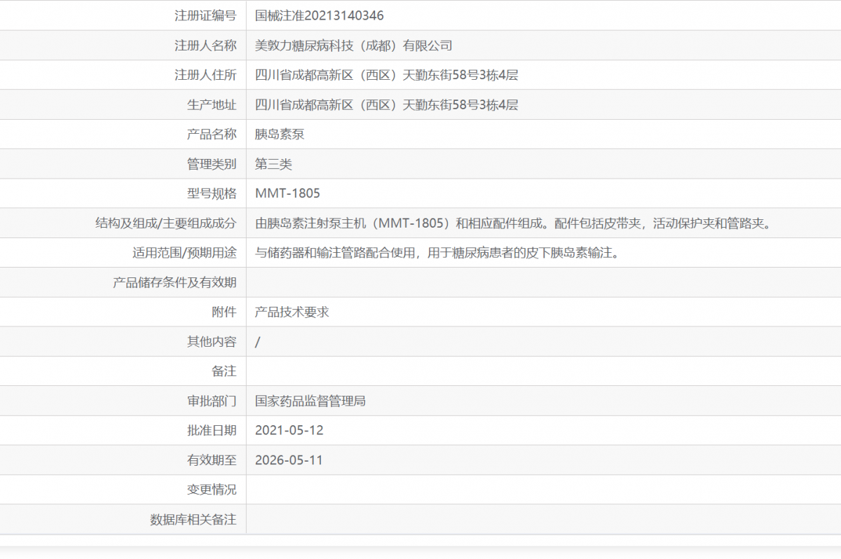
批准文号 : 国械注准20213140346
类 别 :
美国 美敦力Medtronic
电议
现货、预定
上海自提或三方快递
签约购买
[设备]1年质保 [耗材]见包装
售后服务: 400-090-0956

产品:

单位名称:

联系人:

联系电话:

咨询内容:

提交

产品描述

注册信息

美敦力临时心脏起搏器Pace T20
Medtronic Pace T20
携手创新 律动生命
更简易的操作
1、触摸屏设计,功能切换较传统旋钮更简便迅速;
2、电池易配,通用性强;
3、接口简便易用。
更简约的外观
1、全数字液晶界面,读数更清晰;
2、整机无旋钮设计,清洗消毒更方便;
3、体积小巧,重量更轻。

上海聚慕提供医疗器械采购,维修保养,安装培训,出租租赁等,来电咨:1-8-9-0-1-9-1-2-7-5-5 @上海聚慕


更可靠的性
1、自动锁定 防止误操作;
2、故障报警提示,排障及时;
3、内置200小时以上大容量备用电源,便于更换电池;
4、人性化臂带与挂钩设计防止脱落。

美敦力临时心脏起搏器Pace T20
技术规格:
模式 AOO,AAI,AAT,VOO,VVI,VVT,高频起搏,紧急起搏和OSO
基本起搏频率40-180ppm
快速心房起搏频率40-1000ppm 预设频率400ppm 爆发式或持续性起搏
电压 0.1-20V
紧急起搏模式VOO/10V/80ppm
感知灵敏度0.1-20mv
不应期400ms for AXX模式 250ms for VXX模式
频率奔放保护有,取决于心率设置
噪声检测125ms 自动切换至AOO/VOO模式
接头2个接头 适用接头直径范围:0.9-2.1mm
高度142mm
宽度82mm
厚度37mm
重量285g
电池型号AA
电池寿命〉200h
包装内容:
1台PACE T10
2节型号为 Duracell Mignon Alkali MN 1500 或 Varta Mignon Al-kali LR6 AA 的电池
1个电池盒
2个固定装置(手臂用,三角架用)
1个密封套


0.png

上海聚慕医疗器械有限公司,深耕行业十余载,拥有国家级医疗器械经销资质,服务网络覆盖全国。依托现代化实体厂库,实现多品类器械高效集储、精准配送,为医疗机构与合作伙伴提供从供应链管理到售后支持的一站式解决方案。我们以专业为基、以诚信为本,持续赋能中国医疗健康产业。 欢迎语

尊敬的客户您好:上海聚慕医疗做为美国美敦力Medtronic的厂家合作伙伴,可靠的提供美敦力临时心脏起搏器Pace T20技术选型,您可以了解美敦力临时心脏起搏器Pace T20的详细介绍,配置,如需了解美敦力临时心脏起搏器Pace T20招标授权及产品详细技术参数,彩页及使用方法,可通过致电聚慕医疗全国热线电话400-090-0956向我们的产品经理咨询。

聚慕医疗拥有专业的售后团队,提供美国美敦力Medtronic产品延保及上门培训,维修,在您拥有美敦力临时心脏起搏器Pace T20的优质性能同时,也能享受专业无忧的售后服务。

友情提示

聚慕医疗承诺无论您在上海、北京、广州、深圳、厦门、武汉、重庆、杭州、苏州、江苏、广东、浙江、山东、湖北、四川、安徽、新疆、西藏还是大连、沈阳、长春、哈尔滨、青岛、西安、郑州、合肥、兰州、太原、长沙、株洲、福州、无锡、昆山、扬州、常州、宁波、贵州、呼和浩特、鄂尔多斯、吉林、云南、大庆、鞍山、合肥、宿州、拉萨、等地,均可提供美敦力临时心脏起搏器Pace T20的物流代收货款及快递派送上门送件 。更多需求请您致电全国免费咨询热线:400-090-0956

 本公司全力支持关于《中华人民共和国广告法》实施的“极限 化违禁词”相关规定,且已竭力规避使用相关“违禁词”等极限化词汇。如果还有“极限化”违禁词用在本公司网页,本公司申明全部失效。所有访问本公司网页的人员均表示默认此条约,不支持任何发来“违禁词”为借口或理由投诉我公司 违反《中华人民共和国广告法》或《新广告法》来变相勒索索要 赔偿的违法恶意行为!如有疑问请及时联系本公司进行更改,感谢你的配合和支持,谢谢!

售后服务

1、产品质量问题,在产品售出7天内因产品有明显瑕疵的且产品未有损坏的,聚慕医疗负责免费换货;

2、产品标配售后服务质保期:1年质保,如需延保服务请致电400-090-0956;

3、质保期内如有产品质量问题,免费维修或更换,质保期外长期提供技术支持,如需上门或更换配件,酌情收取基本配件费及差旅费;4、所有产品售后问题,请直接联系我司全国免费咨询热线:400-090-0956,我司售后服务团队会在1~3个工作日内响应处理。

为您找货 · 告诉我们您想要找什么商品?我们将尽快给您答复。
* 商品名称:
* 您想了解:
  • 商品资料
  • 货期
  • 价格
  • 安调
  • 其他
* 手机号码:
* 姓名: