产品描述
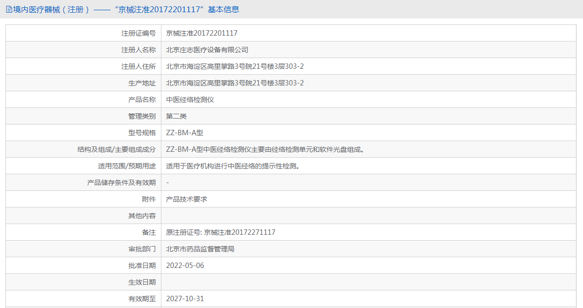
注册信息
上海聚慕提供医疗器械采购,维修保养,安装培训,出租租赁等,来电咨:1-8-9-0-1-9-1-2-7-5-5 罗经理 @上海聚慕
中医体检设备的重要意义:
对人体健康状况存在的倾向性或潜在性的不正常状况、问题、障碍做出初步判断,实施人体健康状态普查、筛查。依据中医基本理论为基础;
对中医诊查人体某些疾病的早期提示,早期发现,早期诊断提供科学量化依据;
对人体脏腑器官存在的亚疾病状态做出初步判断;
中医体检仪器/经络诊疗仪仪器特点:
1.传输数据抗扰保真采用“负反馈与网状电磁屏蔽”技术,确保经络数据准确不失真
2.智能操作穴位采集图示靶向定位,机器辨证分析,自动出具检测报告
3.低噪声因为被测信号是生物电信息的微弱电信号,因此,ZZ-BM-A中医经络检测仪采用了噪声比较低的电阻和运算放大器,从而提高了经络仪的检测能力。
4.高精度人体分压电阻采用51K精密电阻,精度为0.1%。同时,为了保证信号的稳定度,减小测量误差,就***要采用高输入阻抗的运算放大器。
5.移动便捷内置四个万向带刹车静音脚轮。
上海聚慕提供医疗器械采购,维修保养,安装培训,出租租赁等,来电咨:1-8-9-0-1-9-1-2-7-5-5 罗经理 @上海聚慕

最新资讯
- 上海聚慕医疗:从体检到急救,为医疗场景提供“全链条”设备支持
- 校园体检批量视力筛查痛点解决方案
- 儿童体检专用视力筛查仪场景适配指南 ——从“看得见”到“看得清”,构建分龄化眼健康初筛体系
- yk-2020a 便携式多参数健康检查仪:身高体重血压体脂一键测,体检快筛好帮手
- gene +seq-2000 基因测序仪:高通量测序助力肿瘤早筛、遗传病与病原体检测
- dhm-300w 超声波体检机:便携式腹部、甲状腺快速筛查设备
- 社区体检常用:ubs-3000mini 比双能x线更便捷经济
- 多普勒外周血管检测仪 vbp-10d适合社区体检大规模应用吗?
- 健康体检系统的技术实现原理
- 体检中心和三甲医院为何都选bs-2800m全自动生化分析系统?



全部商品分类













聚慕货号 :
JM1096-744905
商品类别 :
批准文号 :
类 别 :




















