产品描述
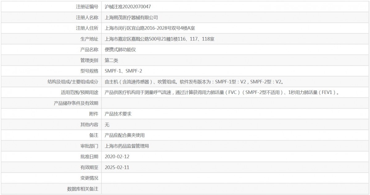
注册信息
集中式综合呼吸试验的****
ERT MasterScope™帮助您克服使用各种诊断技术的挑战,同时遵循复杂的临床试验方案。MasterScope高度直观的多语言用户界面、定制化的方案工作流程和许多智能功能(如生物识别用户标识)(21 CFR第11部分合规性),使其成为集中肺活量计研究的*选。凭借独特的多方案设备重复使用选项,MasterScope还将设备成本和logistic回归分析成本降至***低,加快试验启动速度,并减轻研究站点的负担。MasterScope的集成平台有助于您的站点更好地关注患者安*和数据质量。基于经验证的JAEGER™流量传感器,MasterScope可以提供完整的肺活量计功能(超过当前的ATS/ERS标准),已集成AM3TM设备系列的***庭监测和患者报告结果的电子日志数据,并利用ERT HESTM算法提供可选的12导联心电图。借助第三方数据集成,如用于收集呼出***氧化氮(FeNO)的Circassia NIOX VERO®和其他****功能,MasterScope将成为您的中*诊断工作站。
MASTERSCOPE竭诚为您服务
Ø 将肺活量计、12导联心电图、FeNO和***庭肺活量计监测与患者报告结果(PROs)的电子日志数据整合到***个高性能系统中。
Ø 通过定制化的方案特定工作流程简化复杂的试验。
Ø 通过允许***台设备能够支持多项研究的独特多方案选项,*大限度降低设备成本和logistic回归分析成本。
Ø 使用设计时考虑到站点需求(包括多语言支持)的软件提高站点性能。
MASTERSCOPE特点
Ø 符合ATS / ERS标准的肺活量计
Ø 支持Quanjer - 全球肺部倡议组织(GLD)提供的2012年参考值
Ø 自动错误检测:
l 外推容积
l 晚期峰流速
l 检测咳嗽
l 呼气时间< 6秒(对于儿童,< 3秒),包括测量期间的图形可视化
l 呼气结束时的“不稳定检测”,包括测量期间的图形可视化
Ø 自动可接受性和重复性检查,包括流量灯指示器的可视化
Ø 患者在测量过程中具有强制休息时间
Ø 容积/时间和Tiffieneau视图
Ø 用户手动选择和取消循环的智能控制,包括用户评论(取消选择的循环将由ERT的肺部观察专***存储、传输和审查)
Ø 自动计分和警报计算(如FEV1变化)
Ø 自动计算包容性、随机化、排他性或警报标准
Ø 具有候诊室功能,可在***个就诊日内实现多元主体管理。
Ø 通过本地和在线培训视频和文档进行在线学习
Ø 通过生物识别指纹检测进行用户验证
Ø 更正数据请求的电子提交和管理
Ø 通过自动在线更新修订方案和部署新功能
Ø 安*以太网(LAN)、无线(WLAN)、SD卡网络上传或模拟数据传输
Ø 功能齐全的离线操作
Ø 为初始方案软件进行在线设置
Ø 连接到我们的专***®平台,使用可选的数据访问和分析实现集中化通读
Ø 用于近实时数据管理和报告在线门户网站
上海聚慕提供医疗器械采购,维修保养,安装培训,出租租赁等,来电咨:400-901-5099 @上海聚慕

上海聚慕提供医疗器械采购,维修保养,安装培训,出租租赁等,来电咨:400-901-5099 @上海聚慕



全部商品分类













聚慕货号 :
JM1144-748058
商品类别 :
批准文号 :
类 别 :




















