产品描述
注册信息
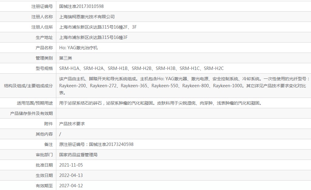
1. ★用于泌尿系结石的碎石,泌尿系肿瘤的汽化和凝固。皮肤科用于尖锐湿疣、肉芽肿、 浅皮肿瘤的汽化和凝固。 2. 光纤终端输出平均功率:50~60W (提供出厂检测报告) 3. 光纤末端单脉冲能量:0.5J~4.0J 4. ★具有控制能量稳定功能,使激光能量输出不稳定度:≤±5%(以注册证为准) 5. ★具有控制能量稳定功能,使激光输出功率的复现性:≤±5% (以注册证为准) 6. 工作激光输出波长:2100nm 7. 激光器工作方式:脉冲 8. 脉冲重复频率:5Hz~30Hz可调 9. ★脉冲宽度范围可调:200μs~800μs可调,***窄脉宽和***宽脉宽区间范围≥600μs,宽 脉宽原位碎石粉末化,止血好,切割止血同步进行;窄脉宽碎块化。 10. ★传输系统:多种规格光纤(200μm、272μm、365μm、550μm、800μm和1000μm 可选)以注册证为准。 11. 光纤为四层结构。 12. ★软光纤芯径及外径:200μm光纤芯径200μm±5%,外径365μm±2%;272μm光纤 芯径272μm±2%,外径400μm±2%,光纤外径细有助于术中回水,减少水煮输尿管 热损伤风险,有利于排石,清石率高(芯径需提供检测报告)。 13. ★软光纤***小弯曲半径:200μm光纤≤3.0cm,272μm光纤≤4.1cm,光纤弯曲半径小, 输尿管软镜弯曲不受影响,光纤不会漏光,镜子不会被光纤打坏(需提供检测报告)。 14. 激光耦合效率≥90%(具有******资质的检测机构出具检测报告)。 15. ★使用272μm光纤***大传输功率:50~60W(具有******资质的检测机构出具检测报告) 16. 护眼指示光:绿光,波长520nm,功率≤5mW(提供******药监局备案说明书或技术要 求) 17. 控制方式:8英寸全触摸彩色控制屏。 18. 专***数据库:嵌入式微电脑内置专***数据库。 19. 电源:AC220V/50Hz 20. 冷却系统:内置压缩机制冷;拥有制冷***技术,确保性能稳定。 21. 噪声小于70dB(具有******资质的检测机构出具检测报告)。 22. 激光腔体、钬晶体、氙灯等重要部件为进口。 23. 生产企业通过ISO9001:2015、ISO13485:2016认证。 24. ★治疗机可靠性:连续工作8小时功率无衰减(具有******资质的检测机构出具检测报告) 25. 认定为省***高新技术成果转化(A类)(需提供证书)。 26. 拥有软件著作权。 27. ★有中***医学装备协会适宜技术推广培训基地。 28. 提供备用机:设备故障,现场不能修复的,无偿提供备用机以保证用户单位的正常使用。
上海聚慕提供医疗器械采购,维修保养,安装培训,出租租赁等,来电咨:1-8-9-0-1-9-1-2-7-5-5 罗经理 @上海聚慕

上海聚慕提供医疗器械采购,维修保养,安装培训,出租租赁等,来电咨:1-8-9-0-1-9-1-2-7-5-5 罗经理 @上海聚慕



全部商品分类













聚慕货号 :
JM1945-749717
商品类别 :
批准文号 :
类 别 :




















