上海聚慕提供医疗器械采购,维修保养,安装培训,出租租赁等,来电咨:1-8-9-0-1-9-1-2-7-5-5 罗经理 @上海聚慕
产品优势
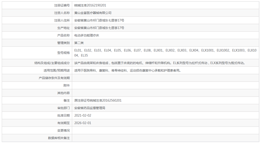
产品参数
电机升降调节时间35-50秒
升降距离67-87cm
净重100kg
承重125kg
电压220V~50HZ
规格204*81*(67-87)cm
上海聚慕提供医疗器械采购,维修保养,安装培训,出租租赁等,来电咨:1-8-9-0-1-9-1-2-7-5-5 罗经理 @上海聚慕

上海聚慕医疗器械有限公司,深耕行业十余载,拥有国家级医疗器械经销资质,服务网络覆盖全国。依托现代化实体厂库,实现多品类器械高效集储、精准配送,为医疗机构与合作伙伴提供从供应链管理到售后支持的一站式解决方案。我们以专业为基、以诚信为本,持续赋能中国医疗健康产业。
欢迎语尊敬的客户您好:上海聚慕医疗做为中国国产的厂家合作伙伴,可靠的提供电动多功能理疗床 EL02(谐振床)技术选型,您可以了解电动多功能理疗床 EL02(谐振床)的详细介绍,配置,如需了解电动多功能理疗床 EL02(谐振床)招标授权及产品详细技术参数,彩页及使用方法,可通过致电聚慕医疗全国热线电话400-090-0956向我们的产品经理咨询。
聚慕医疗拥有专业的售后团队,提供中国国产产品延保及上门培训,维修,在您拥有电动多功能理疗床 EL02(谐振床)的优质性能同时,也能享受专业无忧的售后服务。
友情提示聚慕医疗承诺无论您在上海、北京、广州、深圳、厦门、武汉、重庆、杭州、苏州、江苏、广东、浙江、山东、湖北、四川、安徽、新疆、西藏还是大连、沈阳、长春、哈尔滨、青岛、西安、郑州、合肥、兰州、太原、长沙、株洲、福州、无锡、昆山、扬州、常州、宁波、贵州、呼和浩特、鄂尔多斯、吉林、云南、大庆、鞍山、合肥、宿州、拉萨、等地,均可提供电动多功能理疗床 EL02(谐振床)的物流代收货款及快递派送上门送件 。更多需求请您致电全国免费咨询热线:400-090-0956
本公司全力支持关于《中华人民共和国广告法》实施的“极限 化违禁词”相关规定,且已竭力规避使用相关“违禁词”等极限化词汇。如果还有“极限化”违禁词用在本公司网页,本公司申明全部失效。所有访问本公司网页的人员均表示默认此条约,不支持任何发来“违禁词”为借口或理由投诉我公司 违反《中华人民共和国广告法》或《新广告法》来变相勒索索要 赔偿的违法恶意行为!如有疑问请及时联系本公司进行更改,感谢你的配合和支持,谢谢!
售后服务1、产品质量问题,在产品售出7天内因产品有明显瑕疵的且产品未有损坏的,聚慕医疗负责免费换货;
2、产品标配售后服务质保期:1年质保,如需延保服务请致电400-090-0956;
3、质保期内如有产品质量问题,免费维修或更换,质保期外长期提供技术支持,如需上门或更换配件,酌情收取基本配件费及差旅费;4、所有产品售后问题,请直接联系我司全国免费咨询热线:400-090-0956,我司售后服务团队会在1~3个工作日内响应处理。