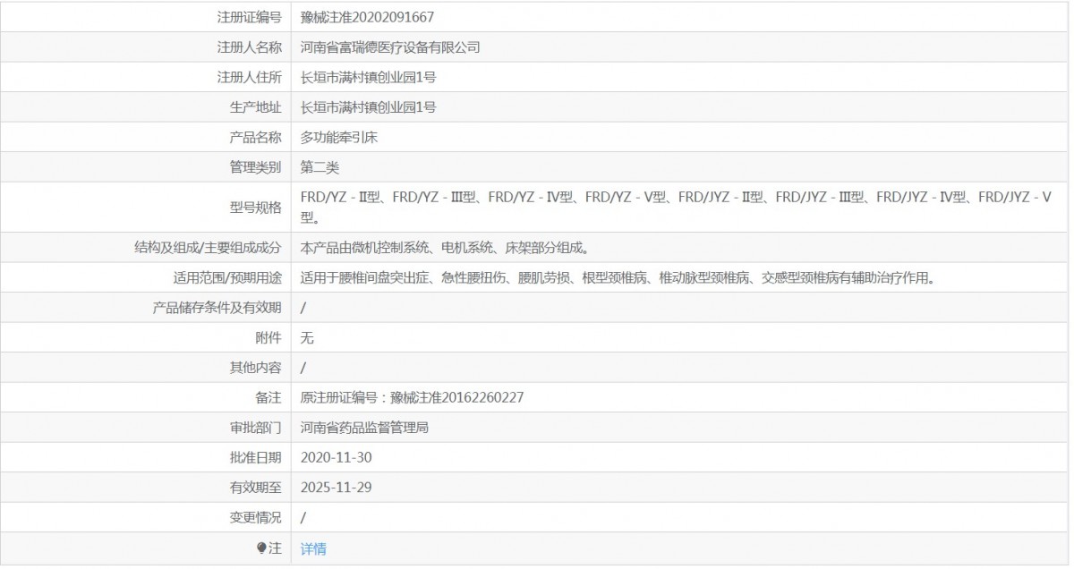
【成份】 结构及组成:本产品由微机控制系统、电机系统、床架部分组成。主要性能指标:1.牵引床的腰椎***大牵引行程为298mm±5mm。2.牵引床的牵引总时间可在60min内任意设定,设定允差为±30s,设定***差1min。3.牵引床的持续牵引时间可在9min内任意设定,设定允差为±20s,设定***差1min。4.牵引床的间歇牵引时间可在5min内任意设定,设定允差为±20s,设定***差1min。5.牵引床的腰椎牵引力在980N的范围内任意设定,设定允差为±20%,设定***差1N。6.牵引床的腰椎牵引速度:7mm±2mm/s。7.牵引床的摇摆角度:左右各25°的范围内任意设定,设定允差不大于±2°。8.上下成角牵引***大角-9°~30°的范围内连续可调,设定允差不大于±2°。9.颈椎***大牵引行程为300mm±5mm。10.颈椎牵引总时间可在60min内任意设定,设定允差为±30s,设定***差1min。11.颈椎连续牵引时间可在9min内任意设定,设定允差为±20s,设定***差1min。12.颈椎间歇牵引时间可在9min内任意设定,设定允差为±20s,设定***差1min。13.颈椎牵引力在300N的范围内任意设定,设定值的允差为±20%,设定***差1N。
【适应症】 适用于腰椎间盘突出症、急性腰扭伤、腰肌劳损、根型颈椎病、椎动脉型颈椎病、交感型颈椎病有辅助治疗作用。
产品详情请联系上海聚慕医疗,联系电话:400 901 5099 (罗经理)

产品详情请联系上海聚慕医疗,联系电话:400 901 5099 (罗经理)
上海聚慕医疗器械有限公司,深耕行业十余载,拥有国家级医疗器械经销资质,服务网络覆盖全国。依托现代化实体厂库,实现多品类器械高效集储、精准配送,为医疗机构与合作伙伴提供从供应链管理到售后支持的一站式解决方案。我们以专业为基、以诚信为本,持续赋能中国医疗健康产业。
欢迎语尊敬的客户您好:上海聚慕医疗做为中国国产的厂家合作伙伴,可靠的提供多功能牵引床frd/jyz-v技术选型,您可以了解多功能牵引床frd/jyz-v的详细介绍,配置,如需了解多功能牵引床frd/jyz-v招标授权及产品详细技术参数,彩页及使用方法,可通过致电聚慕医疗全国热线电话400-090-0956向我们的产品经理咨询。
聚慕医疗拥有专业的售后团队,提供中国国产产品延保及上门培训,维修,在您拥有多功能牵引床frd/jyz-v的优质性能同时,也能享受专业无忧的售后服务。
友情提示聚慕医疗承诺无论您在上海、北京、广州、深圳、厦门、武汉、重庆、杭州、苏州、江苏、广东、浙江、山东、湖北、四川、安徽、新疆、西藏还是大连、沈阳、长春、哈尔滨、青岛、西安、郑州、合肥、兰州、太原、长沙、株洲、福州、无锡、昆山、扬州、常州、宁波、贵州、呼和浩特、鄂尔多斯、吉林、云南、大庆、鞍山、合肥、宿州、拉萨、等地,均可提供多功能牵引床frd/jyz-v的物流代收货款及快递派送上门送件 。更多需求请您致电全国免费咨询热线:400-090-0956
本公司全力支持关于《中华人民共和国广告法》实施的“极限 化违禁词”相关规定,且已竭力规避使用相关“违禁词”等极限化词汇。如果还有“极限化”违禁词用在本公司网页,本公司申明全部失效。所有访问本公司网页的人员均表示默认此条约,不支持任何发来“违禁词”为借口或理由投诉我公司 违反《中华人民共和国广告法》或《新广告法》来变相勒索索要 赔偿的违法恶意行为!如有疑问请及时联系本公司进行更改,感谢你的配合和支持,谢谢!
售后服务1、产品质量问题,在产品售出7天内因产品有明显瑕疵的且产品未有损坏的,聚慕医疗负责免费换货;
2、产品标配售后服务质保期:1年质保,如需延保服务请致电400-090-0956;
3、质保期内如有产品质量问题,免费维修或更换,质保期外长期提供技术支持,如需上门或更换配件,酌情收取基本配件费及差旅费;4、所有产品售后问题,请直接联系我司全国免费咨询热线:400-090-0956,我司售后服务团队会在1~3个工作日内响应处理。