产品详情请联系上海聚慕医疗,联系电话:400 901 5099 (罗经理)
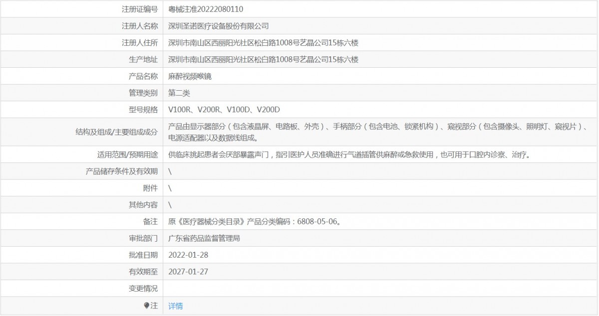
结构及组成:本产品由显示器、数据线、视频喉镜主体、***次性视频喉镜片、电源适配器、消毒组件(立架式)、显示器移动机架(立架式)、手提箱或手提包(便携式)、视频信号线(有线传输)、无线信号发射器和无线信号接收器(无线传输)组成。主要技术指标:产品表面应光滑,无锋棱、毛刺;视场角为50°~65°;拍摄图像应同步清晰;光强度应不低于150 Lux,喉镜的光照应集中射在压舌板前端中部,不得有忽明忽暗现象;部件之间连接要牢固、可靠,不得有松动、卡住或脱落现象;有效无线信号传输距离应不少于3m;镜片应无菌、无细胞毒性、无迟发型超敏反应、无粘膜刺激;环氧乙烷残留量不大于10μg/g。
【适应症】
供临床挑起患者会厌部暴露声门,指引医护人员准确进行气道插管供麻醉或急救用,也可用于口腔内诊察、治疗及医学教学用。
产品详情请联系上海聚慕医疗,联系电话:400 901 5099 (罗经理)

上海聚慕医疗器械有限公司,深耕行业十余载,拥有国家级医疗器械经销资质,服务网络覆盖全国。依托现代化实体厂库,实现多品类器械高效集储、精准配送,为医疗机构与合作伙伴提供从供应链管理到售后支持的一站式解决方案。我们以专业为基、以诚信为本,持续赋能中国医疗健康产业。
欢迎语尊敬的客户您好:上海聚慕医疗做为中国圣诺的厂家合作伙伴,可靠的提供麻醉视频喉镜v200d技术选型,您可以了解麻醉视频喉镜v200d的详细介绍,配置,如需了解麻醉视频喉镜v200d招标授权及产品详细技术参数,彩页及使用方法,可通过致电聚慕医疗全国热线电话400-090-0956向我们的产品经理咨询。
聚慕医疗拥有专业的售后团队,提供中国圣诺产品延保及上门培训,维修,在您拥有麻醉视频喉镜v200d的优质性能同时,也能享受专业无忧的售后服务。
友情提示聚慕医疗承诺无论您在上海、北京、广州、深圳、厦门、武汉、重庆、杭州、苏州、江苏、广东、浙江、山东、湖北、四川、安徽、新疆、西藏还是大连、沈阳、长春、哈尔滨、青岛、西安、郑州、合肥、兰州、太原、长沙、株洲、福州、无锡、昆山、扬州、常州、宁波、贵州、呼和浩特、鄂尔多斯、吉林、云南、大庆、鞍山、合肥、宿州、拉萨、等地,均可提供麻醉视频喉镜v200d的物流代收货款及快递派送上门送件 。更多需求请您致电全国免费咨询热线:400-090-0956
本公司全力支持关于《中华人民共和国广告法》实施的“极限 化违禁词”相关规定,且已竭力规避使用相关“违禁词”等极限化词汇。如果还有“极限化”违禁词用在本公司网页,本公司申明全部失效。所有访问本公司网页的人员均表示默认此条约,不支持任何发来“违禁词”为借口或理由投诉我公司 违反《中华人民共和国广告法》或《新广告法》来变相勒索索要 赔偿的违法恶意行为!如有疑问请及时联系本公司进行更改,感谢你的配合和支持,谢谢!
售后服务1、产品质量问题,在产品售出7天内因产品有明显瑕疵的且产品未有损坏的,聚慕医疗负责免费换货;
2、产品标配售后服务质保期:1年质保,如需延保服务请致电400-090-0956;
3、质保期内如有产品质量问题,免费维修或更换,质保期外长期提供技术支持,如需上门或更换配件,酌情收取基本配件费及差旅费;4、所有产品售后问题,请直接联系我司全国免费咨询热线:400-090-0956,我司售后服务团队会在1~3个工作日内响应处理。