聚慕 - 专业医疗器械服务商
设为首页 收藏本页 人事招聘 关于聚慕
400-090-0956
全部商品分类
网站首页 > 产品中心 > 手术设备 > 无影灯 > 数字图像手术无影灯itled 6500
数字图像手术无影灯itled 6500
数字图像手术无影灯itled 6500
聚慕货号 : JM2012-007814
商品类别 : 无影灯 / 手术设备
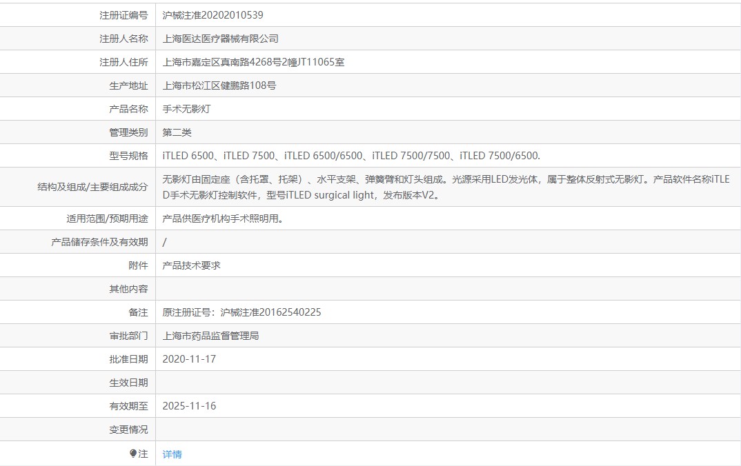
批准文号 : 沪械注准20202010539
类 别 : 二类医疗器械
中国 医达
电议
现货、预定
上海自提或三方快递
签约购买
此产品注册证已到期,已下架详细信息请咨询客服
[设备]1年质保 [耗材]见包装
售后服务: 400-090-0956

产品:

单位名称:

联系人:

联系电话:

咨询内容:

提交

产品描述

注册信息

ZF700/700(中置摄像+显示器)吊式手术灯系列,提供冷光,无影,高演色性的手术照明,适用于具有***般天花板的手术房和具有层流空调天花板的手术房。

 

整合于手术灯头内的中置式摄影系统,可提供客户在临床手术教学,纪录,与远距医疗等用途上的

 

应用。

 

◎ZF系列外科手术灯,具备以下各种先进特点:

 

※照度:照明强度可由灯头旁的控制盒或是墙壁端的控制器加以调整。选用墙壁端控制的机型,可符合现代化手术房对于感染控制的要求。

 

※自然的色温:提供4500 ± 300 °K的色温,演色性指数达93 。具有***的光学系统设计,可使色温和演色性指数常保如新。

 

※的无影控制与深度照明:全新的***光学系统,可有效避免执刀医师的头,肩,手臂等处阻碍照明,同时又可保留开刀部位细微处的阴影,使患部状况能更清楚呈现。

上海聚慕医疗器械公司提供医疗器械采购,维修保养,安装培训,出租租赁等,来电咨:18901912755

 

※冷光:经特殊处理的吸热玻璃,可移除照明光线中不要的大量热能。

 

※照明不中断:主灯泡故障时自动切换到备用灯泡,以保持手术照明的连续。

 

※创新的灯头构造:以***小的灯头外径提供大尺寸的照明范围,在面对各种不同照明角度的手术时,

 

可提供紧密的排列。

 

※整合于灯头内的中置式摄影机:具有高品质的影像及完善的控制功能,可提供与执刀医生视角相同的手术区域影像。

 

※多样而完整的搭配:透过大/中/小灯头的搭配,配合平板显示器和中置式摄影机灯头,使客户在手术房用途的规划上更具弹性。



上海聚慕医疗器械有限公司,深耕行业十余载,拥有国家级医疗器械经销资质,服务网络覆盖全国。依托现代化实体厂库,实现多品类器械高效集储、精准配送,为医疗机构与合作伙伴提供从供应链管理到售后支持的一站式解决方案。我们以专业为基、以诚信为本,持续赋能中国医疗健康产业。 欢迎语

尊敬的客户您好:上海聚慕医疗做为中国医达的厂家合作伙伴,可靠的提供数字图像手术无影灯itled 6500技术选型,您可以了解数字图像手术无影灯itled 6500的详细介绍,配置,如需了解数字图像手术无影灯itled 6500招标授权及产品详细技术参数,彩页及使用方法,可通过致电聚慕医疗全国热线电话400-090-0956向我们的产品经理咨询。

聚慕医疗拥有专业的售后团队,提供中国医达产品延保及上门培训,维修,在您拥有数字图像手术无影灯itled 6500的优质性能同时,也能享受专业无忧的售后服务。

友情提示

聚慕医疗承诺无论您在上海、北京、广州、深圳、厦门、武汉、重庆、杭州、苏州、江苏、广东、浙江、山东、湖北、四川、安徽、新疆、西藏还是大连、沈阳、长春、哈尔滨、青岛、西安、郑州、合肥、兰州、太原、长沙、株洲、福州、无锡、昆山、扬州、常州、宁波、贵州、呼和浩特、鄂尔多斯、吉林、云南、大庆、鞍山、合肥、宿州、拉萨、等地,均可提供数字图像手术无影灯itled 6500的物流代收货款及快递派送上门送件 。更多需求请您致电全国免费咨询热线:400-090-0956

 本公司全力支持关于《中华人民共和国广告法》实施的“极限 化违禁词”相关规定,且已竭力规避使用相关“违禁词”等极限化词汇。如果还有“极限化”违禁词用在本公司网页,本公司申明全部失效。所有访问本公司网页的人员均表示默认此条约,不支持任何发来“违禁词”为借口或理由投诉我公司 违反《中华人民共和国广告法》或《新广告法》来变相勒索索要 赔偿的违法恶意行为!如有疑问请及时联系本公司进行更改,感谢你的配合和支持,谢谢!

售后服务

1、产品质量问题,在产品售出7天内因产品有明显瑕疵的且产品未有损坏的,聚慕医疗负责免费换货;

2、产品标配售后服务质保期:1年质保,如需延保服务请致电400-090-0956;

3、质保期内如有产品质量问题,免费维修或更换,质保期外长期提供技术支持,如需上门或更换配件,酌情收取基本配件费及差旅费;4、所有产品售后问题,请直接联系我司全国免费咨询热线:400-090-0956,我司售后服务团队会在1~3个工作日内响应处理。

为您找货 · 告诉我们您想要找什么商品?我们将尽快给您答复。
* 商品名称:
* 您想了解:
  • 商品资料
  • 货期
  • 价格
  • 安调
  • 其他
* 手机号码:
* 姓名: